塑料後傾式圓形管道午夜福利国产在线
產品詳情
1.產品簡介
CDF係列塑料後傾式圓形管道午夜福利国产在线產品由鼓型高效節能塑料殼體、過載熱保護外轉子電機、高效離心葉輪構成的優質單相管道午夜福利国产在线。機殼為PP或PA材質,具有良好的表麵光潔度、熱穩定性、抗老化性和抗酸堿腐蝕性,能夠有效保證管道午夜福利国产在线的使用壽命。外轉子電機均獲得了美國的UL安全標準和歐洲的CE認證標準,成為廣大客戶的選。該款產品有100mm和125mm兩種型號,115V和230V的額定電壓使該款電機適用於不同國家的電壓要求,適用性強。由於其具有體積小、重量輕、噪音低、效率高和安裝使用方便等優點,廣泛用於賓館、超市、學校、醫院等公共場所的送風排風係統。如果你需要更多的產品信息,可以在線或電話聯係午夜福利在线播放。
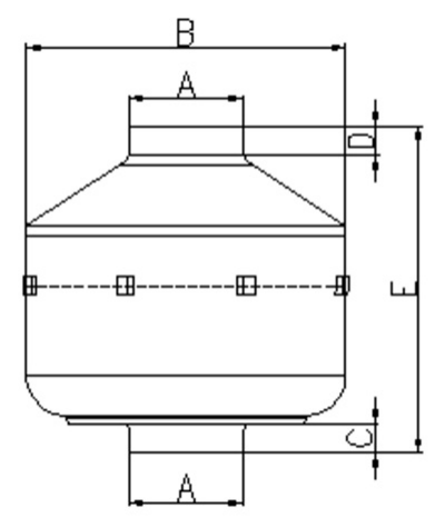
塑料後傾式圓形管道午夜福利国产在线按出風口的直徑共分為2種機號:100mm、125mm。下文中為您介紹塑料後傾式圓形管道午夜福利国产在线的尺寸(精確到毫米)、電壓、頻率、輸入功率、電流、轉速、電容等參數。
午夜福利在线播放圓形管道午夜福利国产在线的分類、結構特點、行業用途、工作條件、設計說明、型號說明、產品認證等信息詳見:圓形管道午夜福利国产在线CDF係列產品概述。
2. 技術參數
| 型號 MODEL | A (mm) | B (mm) | C (mm) | D (mm) | E (mm) |
| CDF2E100 | 97 | 240 | 20 | 20 | 200 |
| CDF2E125 | 121 | 236 | 24 | 24 | 206 |
| 型號 | 額定電壓 | 頻率 | 輸入功率 | 額定電流 | 轉速 | 電容 |
| CDF2E100 | 230 | 50/60 | 73/80 | 0.33/0.35 | 2300/2500 | 2 |
| CDF2E125 | 230 | 50/60 | 70/85 | 0.29/0.32 | 2300/2500 | 2 |
| 型號 | 額定電壓 | 頻率 | 輸入功率 | 額定電流 | 轉速 | 電容 |
| CDF2E100 | 115 | 60 | 77 | 0.63 | 2550 | 8 |
| CDF2E125 | 115 | 60 | 85 | 0.7 | 2550 | 8 |
3.外形尺寸圖

4.風量風壓曲線圖
說明:紅線為60Hz曲線,黑線為50Hz曲線

塑料後傾式圓形管道午夜福利国产在线100mm風量風壓曲線圖

塑料後傾式圓形管道午夜福利国产在线125mm風量風壓曲線圖







