鐵殼後傾式圓形管道午夜福利国产在线
1.產品簡介
CDF係列鐵殼後傾式圓形管道午夜福利国产在线是先進冷拉成型技術與空氣動力學結合的新型直通離心式管道風機。進風口和出風口尺寸相同,可直接與圓形螺旋風管(或PVC管)連接,能夠極大地節省管道安裝費用。該係列產品的葉輪由多個後傾圓弧形鋁合金葉片、前盤、後盤等部分組成,均用鋼板製造,並經靜、動平衡校正,空氣運行良好,效率高,運轉平穩可靠。該係列管道風機按照出風口直徑共分為7個型號,依次排列為100mm,125mm,150mm,160mm,200mm,250mm,315mm。可以安裝在管道的任意位置,也適合不同角度的安裝,簡單方便。午夜福利在线播放的產品設計工藝先進,結構緊湊,風道流暢,整機無需噴塗處理,使用更環保,可以用於輸送空氣或其他不自然、不自爆、無纏繞性、對人體無害、對鋼鐵材料無腐蝕的氣體。是賓館、飯店、禮堂、影劇院、地下室、廠礦企業等場所建築樓宇和廚房衛生間的通風換氣的理想產品,是高層建築用消防排煙風機的更新換代產品,現已暢銷全國各地,深受用戶好評。
鐵殼後傾式圓形管道午夜福利国产在线按出風口的直徑共分為7種機號,依次排列為100mm、125mm、150mm、160mm、200mm、250mm、315mm。下文中是這些鐵殼後傾式圓形管道午夜福利国产在线的尺寸(精確到毫米)、電壓、頻率、輸入功率、電流、轉速、電容等參數。
午夜福利在线播放圓形管道午夜福利国产在线的分類、結構特點、行業用途、工作條件、設計說明、型號說明、產品認證等信息詳見:圓形管道午夜福利国产在线CDF係列產品概述。
2. 技術參數
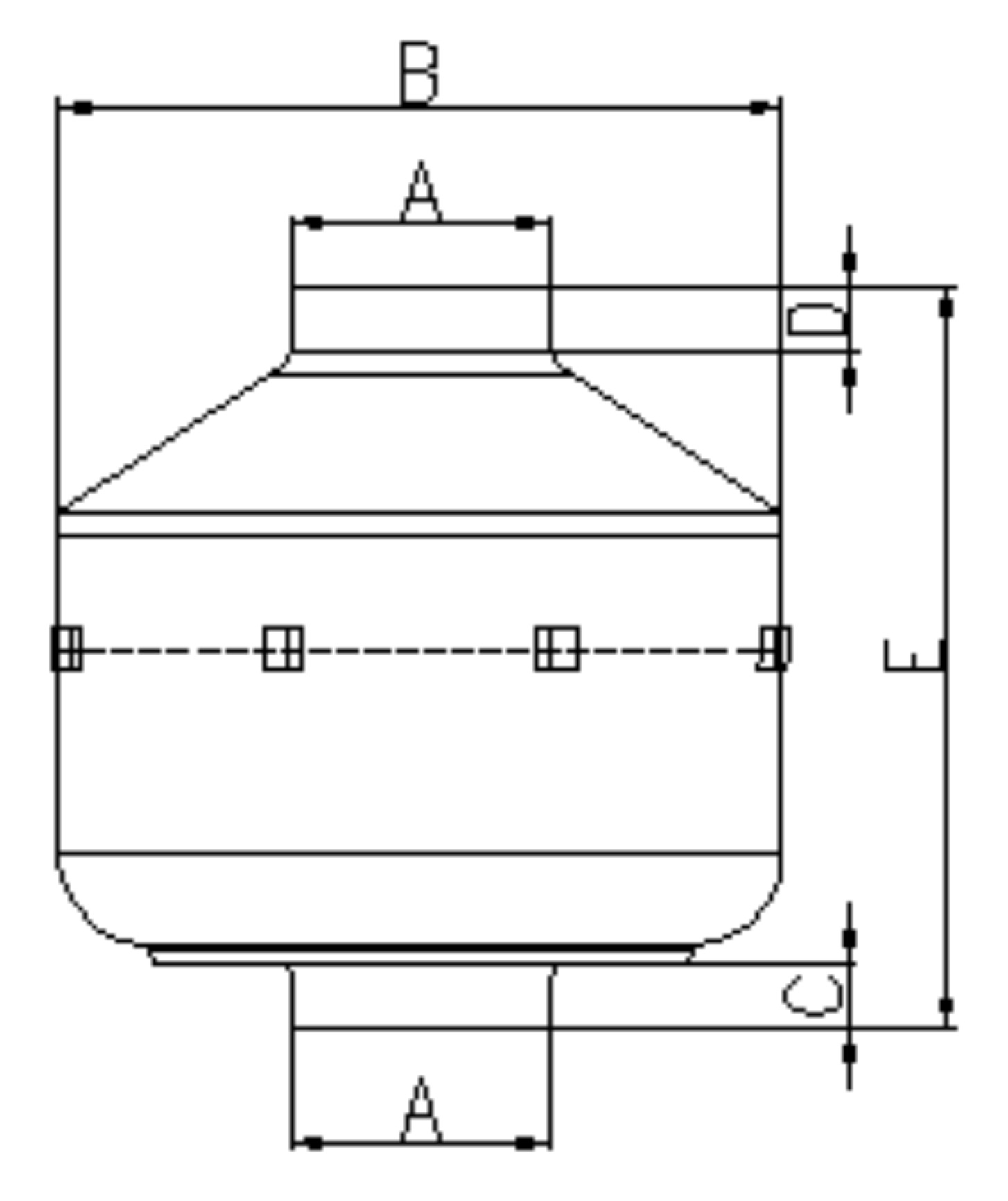
| 型號 | A (mm) | B (mm) | C (mm) | D (mm) | E (mm) |
| CDF2E100 | 97 | 240 | 20 | 20 | 200 |
| CDF2E125 | 121 | 236 | 24 | 24 | 206 |
| CDF2E150 | 147 | 280 | 25 | 22 | 206 |
| CDF2E160 | 157 | 280 | 27 | 30 | 213 |
| CDF2E200 | 197 | 335 | 28 | 25 | 240 |
| CDF2E250 | 246 | 335 | 30 | 25 | 220 |
| CDF2E315 | 313 | 402 | 25 | 30 | 255 |
| 型號 | 額定電壓 | 頻率 | 輸入功率 | 額定電流 | 轉速 | 電容 |
| CDF2E100 | 230 | 50/60 | 73/80 | 0.33/0.35 | 2300/2500 | 2 |
| CDF2E125 | 230 | 50/60 | 70/85 | 0.29/0.32 | 2300/2500 | 2 |
| CDF2E150 | 230 | 50/60 | 100/125 | 0.41/0.52 | 2300/2500 | 3 |
| CDF2E160 | 230 | 50/60 | 110/130 | 0.41/0.54 | 2300/2500 | 3 |
| CDF2E200 | 230 | 50/60 | 150/200 | 0.5/0.68 | 2350/2600 | 5 |
| CDF2E250 | 230 | 50/60 | 165/215 | 0.65/0.73 | 2350/2600 | 5 |
| CDF2E315 | 230 | 50/60 | 200/250 | 0.88/1.1 | 2300/2400 | 6 |
| 型號 | 額定電壓 | 頻率 | 輸入功率 | 額定電流 | 轉速 | 電容 |
| CDF2E100 | 115 | 60 | 77 | 0.63 | 2550 | 8 |
| CDF2E125 | 115 | 60 | 85 | 0.7 | 2550 | 8 |
| CDF2E150 | 115 | 60 | 125 | 0.98 | 2550 | 12 |
| CDF2E160 | 115 | 60 | 130 | 1 | 2500 | 12 |
| CDF2E200 | 115 | 60 | 200 | 1.78 | 2400 | 16 |
| CDF2E250 | 115 | 60 | 215 | 1.8 | 2400 | 16 |
| CDF2E315 | 115 | 60 | 250 | 2 | 2450 | 20 |
3.外形尺寸圖

4.風量曲線圖
說明:(紅線為60Hz曲線,黑線為50Hz曲線)

鐵殼後傾式圓形管道午夜福利国产在线100mm風量風壓曲線圖

鐵殼後傾式圓形管道午夜福利国产在线125mm風量風壓曲線圖

鐵殼後傾式圓形管道午夜福利国产在线150mm風量風壓曲線圖

鐵殼後傾式圓形管道午夜福利国产在线160mm風量風壓曲線圖

鐵殼後傾式圓形管道午夜福利国产在线250mm風量風壓曲線圖

鐵殼後傾式圓形管道午夜福利国产在线315mm風量風壓曲線圖

鐵殼後傾式圓形管道午夜福利国产在线200mm風量風壓曲線圖
下一頁:貫流風機LB30







