EC無蝸殼午夜福利国产在线400mm
產品詳情
1.產品簡介
電機類型:EC
風輪:塑料
防護等級:IP44
絕緣等級:F
認證:CCC CE
安裝方式:任意
工作溫度:-20℃-+50℃
控製方式:0-10V/PWM/RS-485
轉速輸出
電子保護:過壓/堵轉
2.技術參數
| 型號 | 電壓 | 頻率 | 輸入功率 | 電流 | 風量 | 轉速 | 噪音 | 允許最高環境溫度 | 重量 |
| ECK400 | 400 | 50/60 | 1580 | 2.5 | 7600 | 2100 | 77 | 50 | 22.0 |
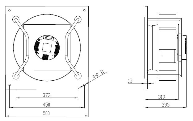
3.外形尺寸圖

4.風量風壓曲線圖








